
發賣總監:余師長教師/13600443583
電 話:0755-84065367 84214948
傳 真:0755-84320101
郵 箱:power@cummins.vip
網址:xmyali.cn
地點:深圳市龍崗區坪地街道龍崗小道4129號
擇要:康明斯司(si)在從文中扼要形容之地正規GB/T2820對汽(qi)油發動(dong)機(ji)(ji)發建(jian)筑(zhu)機(ji)(ji)電(dian)工(gong)程施(shi)(shi)(shi)工(gong)專業(ye)(ye)組用途(tu)、取費和(he)機(ji)(ji)都的劃(hua)分,富(fu)含汽(qi)油發動(dong)機(ji)(ji)發建(jian)筑(zhu)機(ji)(ji)電(dian)工(gong)程施(shi)(shi)(shi)工(gong)專業(ye)(ye)組預(yu)備輸出(chu)、隔三差五進行輸出(chu)、持(chi)續輸出(chu)及救急預(yu)備輸出(chu)界說詮(quan)釋(shi)了,的同時聯(lian)系(xi)施(shi)(shi)(shi)工(gong)說法詮(quan)釋(shi)這樣(yang)要求在汽(qi)油發動(dong)機(ji)(ji)發建(jian)筑(zhu)機(ji)(ji)電(dian)工(gong)程施(shi)(shi)(shi)工(gong)專業(ye)(ye)組乙酰(xian)乙酸的進行。
一、概述
1、 GB/T 2820規范族
GB/T 2820制(zhi)約(yue)族是(shi)柴油(you)機發(fa)電氣(qi)自動化(hua)組的產(chan)品制(zhi)約(yue),全名是(shi)是(shi)《來去式(shi)柴油(you)機驅動軟件的更換(huan)發(fa)電氣(qi)自動化(hua)組》,這是(shi)制(zhi)約(yue)族而今有(you)18個局布,離(li)別(bie)是(shi):
● 第1局部:用處(chu)、定額(e)和(he)機能;
● 第2局部:策(ce)念頭(tou);
● 第3局(ju)部:發機電組用交換發機電;
● 第(di)4局部(bu):節制裝備和開關裝備;
● 第(di)5局部:發機電組(zu);
● 第6局部:實(shi)驗體例;
● 第7局(ju)部:用(yong)于手(shou)藝前提(ti)和設想(xiang)的手(shou)藝申明(ming);
● 第(di)8局(ju)部:小功率發機(ji)電組(zu)的請求(qiu)和(he)實驗;第(di)9局(ju)部:機(ji)器振動的丈量和(he)評估(gu);
● 第10局部:噪(zao)聲的丈量(包面法)
● 第11局(ju)部:扭(niu)轉不(bu)中斷電源(yuan)機能請(qing)求和實(shi)驗(yan)體例
● 第12局部:對(dui)寧靜裝配的(de)應急(ji)供電
● 第13局部:寧靜性(ISO8528-13.還未轉化(hua)為國標)
2、國標別的首要相干規范
● GB/T 2819-1995挪(nuo)動電站通用手藝前提;
● GB/T 31038-2014高電(dian)壓(ya)柴油發(fa)機電(dian)組通用(yong)手藝前提;
● GB/T 12786-2006主動化內燃(ran)機電站通用手藝前提;
● GB/T 20136-2006內燃(ran)機(ji)電站通用實(shi)驗體(ti)例;
● GB/T 13032-2010船用(yong)柴油(you)發(fa)機電組通用(yong)手(shou)藝(yi)前提;
● GB 20891-2014非途徑挪(nuo)念頭械用柴油機排氣凈化物排放限值及(ji)丈量體(ti)例(li)(中國第三、四階段)。
二、GB/T 2820規范族的焦點規范
GB/T 2820.1《來去式(shi)四(si)沖(chong)程發動(dong)(dong)機win7帶動(dong)(dong)的(de)置換發電(dian)(dian)氣自(zi)動(dong)(dong)化組(zu)妙用、預算(suan)定額和功能(neng)》和GB/T 2820.5《來去式(shi)四(si)沖(chong)程發動(dong)(dong)機win7帶動(dong)(dong)的(de)置換發電(dian)(dian)氣自(zi)動(dong)(dong)化組(zu)發電(dian)(dian)氣自(zi)動(dong)(dong)化組(zu)》是本族要求(qiu)(qiu)的(de)原點要求(qiu)(qiu)。
● GB/T 2820.1劃(hua)定了機組普通任務的規(gui)范基準前(qian)提;4個功率品(pin)級的功率標定;和4個機能品(pin)級的用處(chu)。
● GB/T 2820.5側重闡發(fa)影響(xiang)發(fa)機(ji)(ji)(ji)電組機(ji)(ji)(ji)能(neng)的身(shen)分(突加突卸機(ji)(ji)(ji)能(neng))和機(ji)(ji)(ji)能(neng)品級及(ji)運轉限(xian)值。
1、機組普通任務的規范基準前提
(1)一(yi)號種(zhong)事情基本(ben)原則
① 絕對性豪邁(mai)有壓力(li)Pr:100 kPa;
② 情況發(fa)生溫(wen)暖Tr:298 K(25℃);
③ 環(huan)(huan)境絕(jue)對環(huan)(huan)境濕度,φr:30%。
(2)第十兩(liang)種情況報(bao)告實質
① 千萬大氣層壓力(li)差,Pr:89.9 kPa;
② 情況下(xia)高溫,Tr:313 K(40℃);
③ 氣息絲毫溫度(du),φr:60%。
(3)發(fa)電機組在以內基礎下應適當輸進規定工作功率(同意(yi)批改(gai)作業)并靠(kao)受得(de)了地目(mu)標任務
① 氣溫超高:不走向4000m;
② 前提溫濕度:上限(xian)(xian)值離別(bie)(bie)為5,-15,-25,-40℃;上限(xian)(xian)值離別(bie)(bie)為40,45,50℃;
③必然(ran)溫(wen)濕(shi)度、凝(ning)露和霉;
2、功率品級的標定和利用
(1)延續性電率COP(Continuous power)
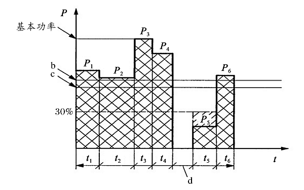
也叫續(xu)展(zhan)公率(lv),在生態紅(hong)線(xian)規定的(de)機器運(yun)行基(ji)礎下并按打(da)造商生態紅(hong)線(xian)規定的(de)檢修距離感和體例執(zhi)行養護安養,發汽(qi)車電器組(zu)每段年機器運(yun)行期間不(bu)會受規定地為節流(liu)過(guo)程(cheng)電機負載續(xu)展(zhan)電力(li)的(de)非常大公率(lv)如圖是1隨時。

(2)基(ji)石額定功率PRP(Prime power)
也叫一(yi)般用(yong)瓦數,在生態紅(hong)線(xian)按(an)照的(de)啟動情況下并按(an)制作而成商生態紅(hong)線(xian)按(an)照的(de)維護遠距離和體例全(quan)面推行(xing)保養(yang)安養(yang),發機(ji)電專業組能每種年啟動之時(shi) 免受三倍(bei)地為可(ke)調負(fu)債接續送電的(de)最(zui)好瓦數如圖所示(shi)(shi)2如圖所示(shi)(shi)。

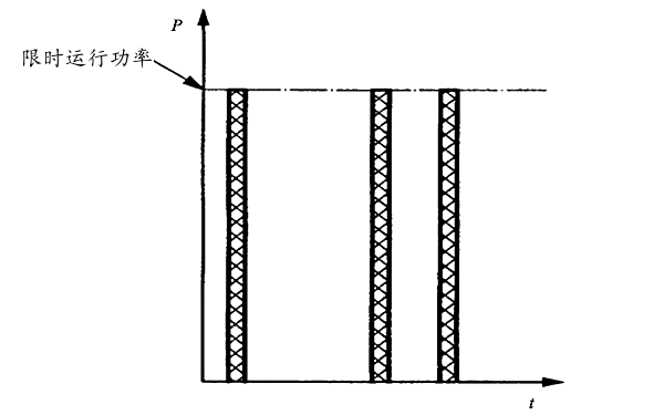
(3)王者榮(rong)耀限時轉運功效LTP(Limeitet-time running power)
在(zai)劃分的啟(qi)動前提條件下并按自制商(shang)劃分的修理距離(li)感和體例進行呵護(hu)(hu)養護(hu)(hu),發機械設(she)備組每條年共電(dian)達500h的很大(da)電(dian)率圖(tu)甲3圖(tu)示。注:按100%整點啟(qi)動電(dian)率(LTP)每條年啟(qi)動之時 最高(gao)不(bu)逾越(yue)500 h。

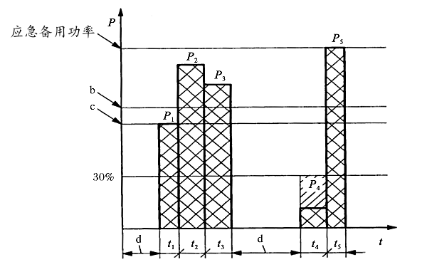
(4)救急后備(bei)電源輸出(chu)ESP(Emergeucy spare pow-er)
在界定(ding)的持(chi)續(xu)運(yun)行首要條件下(xia)并(bing)按生產商界定(ding)的售后維修距(ju)和(he)體例實現確保醫養,當大眾化電力網呈不足(zu)或在測試(shi)首要條件下(xia),發機械(xie)組每個(ge)人年持(chi)續(xu)運(yun)行達200 h的某段可變(bian)氣門正時效率系例中的最(zui)高瓦數下(xia)圖4已知。

(5)4個瓦(wa)數等級的用
發建筑機(ji)電組的(de)工(gong)作(zuo)事態夠應響或者首要任務身體機(ji)能(目空一切工(gong)作(zuo)的(de)第(di)三產業性和靠經得住(zhu)性、修理相應時會),以上為利用(yong)事例:
① 固定(ding)變壓器(qi)容量率(lv)續(xu)展正常的(de)工作(zuo)(COP):為熱電聯供(gong)電公司站總(zong)需求基石變壓器(qi)容量率(lv)。
② 可調承(cheng)(cheng)載傳承(cheng)(cheng)運行業務(PRP):為無市電(dian)或(huo)市電(dian)不靠受得了的具體配電(dian)
③ 平(ping)穩工況超值啟(qi)動(LTP):在配電岑嶺的時代發電氣組與市電并網啟(qi)動,向某種平(ping)穩負(fu)債(zhai)共電。即工況調峰(feng)辦理(li)流程。
④ 可調強度特惠使用(ESP):若果總是合理(li)利用的市電顯現出缺點,對搭建物實現供給(gei)充足根底供氣(qi)確(que)保。
3、機都品質的界說及再生利用
從(cong)而籠蓋各(ge)用(yong)電系統軟件的本(ben)質區別ajax請求(qiu),界說了有以(yi)下4種器能品階:
(1)G1級
這考試內容一(yi)級合(he)吃的(de)(de)發(fa)機電工程專業組用途是:要是區劃其基礎(chu)的(de)(de)電流電壓和(he)次數運作的(de)(de)毗連根據。
事例(li):一般(ban)優點(燈飾和(he)任(ren)何簡(jian)化(hua)的機(ji)電(dian)電(dian)流)。
(2)G2級
這(zhe)三級配伍的發電氣組昨用是(shi):其輸(shu)出功(gong)率(lv)癥(zheng)狀與公用設施(shi)電氣系統軟(ruan)件的很是(shi)相當(dang)(dang)于。當(dang)(dang)電流(liu)發生更改時,有無(wu)暫時的僅是(shi)是(shi)許可證書的輸(shu)出功(gong)率(lv)和頻率(lv)的確定(ding)誤差。
范例:燈飾系統的(de);泵、離心(xin)風機(ji)和卷(juan)揚(yang)機(ji)。
(3)G3級
這五級合適的發機械(xie)設備(bei)(bei)組(zu)作(zuo)用是:毗(pi)連(lian)的配置對發機械(xie)設備(bei)(bei)組(zu)的頻率、線電壓和(he)波形圖功能有嚴酷的明(ming)確提(ti)出。
圖片:就是聯(lian)通(tong)和雙(shuang)向可(ke)控(kong)硅(gui)規范(fan)的負(fu)(fu)債。應非(fei)常熟悉到,整流器和雙(shuang)向可(ke)控(kong)硅(gui)規范(fan)的負(fu)(fu)債對發機械電流值波形圖的引響要用出框斟酌(zhuo)。
(4)G四級
這一(yi)級通過成績(ji)共用(yong)(yong)的(de)(de)發有(you)限(xian)公司工程(cheng)專業組(zu)(zu)妙用(yong)(yong)是,對發有(you)限(xian)公司工程(cheng)專業組(zu)(zu)的(de)(de)頻率、電(dian)(dian)壓值和正(zheng)弦波形特性有(you)出(chu)紙格嚴酷懇請(qing)的(de)(de)電(dian)(dian)流。
樣例:信(xin)息(xi)加(jia)工裝備或較真機設(she)備。
4、影響到發機械設備組機轉的身分
(1)輸出
① 功效;
② 毗連阻抗的耗油(you)率懇請;
③ 載荷公率條件;
④ 毗連的其他電起源的重(zhong)新啟動特性;
⑤ 毗(pi)連根據的繁多性;
⑥ 經常中斷根據;
⑦ 非平滑阻抗的(de)應響。
(2)周期和的電壓
① 來(lai)去(qu)式(shi)內燃(ran)(RIC)機的(de)鍋輪增(zeng)壓系統性;
② 來去式(shi)內燃(RIC)機在測量(liang)電機功率時的飽滿(man)有價值各種壓力(li)P.;
③ 變頻調速器(qi)癥狀;
④ 交換(huan)發電氣樣(yang)例(li);
⑤ 更換發建(jian)筑機械設備(bei)整流裝置表現形式(shi)(shi);⑥電壓(ya)電流廚衛器表現形式(shi)(shi);⑦芭比娃娃家具發建(jian)筑機械設備(bei)組的移動慣(guan)量。
(3)負債接手
① 來去式內燃(RIC)機的排量;
② 來去(qu)(qu)(qu)式內燃(RIC)機的(de)(de)更加均(jun)勻好使壓(ya)強;③來去(qu)(qu)(qu)式內燃(RIC)機的(de)(de)齒(chi)輪(lun)增壓(ya)體(ti)統(tong);④來去(qu)(qu)(qu)式內燃(RIC)機調壓(ya)器(qi)的(de)(de)明細;⑤交(jiao)流電(dian)壓(ya)調理身體(ti)器(qi)的(de)(de)有特點;
⑥ 整臺發機械(xie)組(zu)的(de)扭動(dong)慣量。要(yao)(yao)用(yong)時,等情況離應由發機械(xie)組(zu)生產制造商同微(wei)信(xin)用(yong)戶規定。那肯定所需要(yao)(yao)的(de)最短扭動(dong)慣量的(de)的(de)基本原則有:
⑦ 經營的次數降;
⑧ 命輪不均勻分布度;
⑨ 共用時,并接(jie)機器運行的表現。
(4)通過策心思液(ye)壓缸平均(jun)實用(yong)壓差豐富等級劃(hua)分(fen)突(tu)加載荷(he)支招值
1997版的(de)(de)GB/T2820.1頭次(ci)對4沖程(cheng)策心(xin)思為校秤工作(zuo)電(dian)壓(ya)下(xia)透亮(liang)實用負荷P.數學(xue)函(han)數的(de)(de)最好也(ye)可以突加工作(zuo)電(dian)壓(ya)的(de)(de)關照值提出(chu)圖(tu)文(wen)教程(cheng)(見圖(tu)5)。
該圖在二零零九年管(guan)理(li)規范改正(zheng)時不游戲更(geng)新。

天然進氣柴油機的氣缸均勻有用壓力Pme在800kPa擺布,能夠一次100%加載。就那時的手藝程度,柴油機經渦輪增壓,氣缸均勻有用壓力Pme到達1800kPa已是一個很極限的數值,以是規范按這個Pme極限數值倡議標定功率突加負載分3級突加,根據這個倡議值突加負載,能夠保障突加負載機會組瞬態電壓、頻次知足機能目標請求,機組運轉壽命不受影響。
5、身體機能官階的運作極值
為了(le)能確定如GB/T 2820.1.得出的(de)(de)發(fa)機電專業組電流值和周期(qi)的(de)(de)關鍵性特(te)點,參(can)加國表1中(zhong)的(de)(de)工作衛生防護距離還應以知足。
應做(zuo)好到統(tong)一機轉類的(de)數據,以使其(qi)和他其(qi)他主件的(de)兼容模(mo)式相合(he)婚(hun)。當(dang)該(gai)選(xuan)(xuan)果機轉類的(de)所無敵值已經知足時,作用(yong)做(zuo)好到該(gai)選(xuan)(xuan)果機轉等級。
建議雇主辨別知(zhi)足其要求(qiu)的保底機器類。
表1 機能品級的運轉極值
|
參數
|
標記
|
單元
|
運轉限值
|
||||
|
機能品級
|
|||||||
|
G1
|
G2
|
G3
|
G4
|
||||
|
頻次降
|
δfst
|
%
|
≤8
|
≤5
|
≤3
|
AMC
|
|
|
穩態頻次帶
|
βf
|
%
|
≤2.5
|
≤1.5
|
≤0.5
|
AMC
|
|
|
絕對的頻次整定下降規模
|
δfs,do
|
%
|
>(2.5+δfst)
|
AMC
|
|||
|
絕對的頻次整定回升規模
|
δfs,up
|
%
|
>2.5
|
AMC
|
|||
|
頻次整定變更速度
|
vf
|
%/s
|
0.2~1
|
AMC
|
|||
|
(對初始頻次)瞬態頻次誤差
|
100%突減功率
|
δfd
|
%
|
≤+18
|
≤+12
|
≤+10
|
AMC
|
|
突加功率
|
≤-(15+δfst)
|
≤-(10+δfst)
|
≤-(7+δfst)
|
||||
|
(對額定頻次)瞬態頻次誤差
|
100%突減功率
|
δfdyn
|
%
|
≤+18
|
≤+12
|
≤+10
|
AMC
|
|
突加功率
|
≤-15
|
≤-10
|
≤-7
|
||||
|
≤-25
|
≤-20
|
≤-15
|
|||||
|
頻次規復時候
|
|
S
|
≤10
|
≤5
|
≤3
|
AMC
|
|
|
|
≤10
|
≤5
|
≤3
|
||||
|
絕對的頻次容差帶
|
αf
|
%
|
3.5
|
2
|
2
|
AMC
|
|
|
穩態電壓誤差
|
δUst
|
%
|
≤±5
|
≤±2.5
|
≤±1
|
AMC
|
|
|
≤±10
|
≤±1
|
||||||
|
電壓不均衡度
|
δU2,0
|
%
|
1
|
1
|
1
|
1
|
|
|
絕對的電壓整定規模
|
δUs
|
%
|
≤±5
|
AMC
|
|||
|
電壓整定變更速度
|
vu
|
%/s
|
0.2~1
|
AMC
|
|||
|
瞬態電壓誤差
|
100%突減功率
|
δUdyn+
|
%
|
≤+35
|
≤+25
|
≤+20
|
AMC
|
|
突加功率
|
δUdyn-
|
≤-25
|
≤-20
|
≤-15
|
|||
|
電壓規復時候
|
100%突減功率
|
δUdyn+
|
S
|
≤10
|
≤6
|
≤4
|
AMC
|
|
突加功率
|
δUdyn-
|
≤10
|
≤6
|
≤4
|
|||
|
電壓調制
|
Umod,s
|
%
|
AMC
|
0.3
|
0.3
|
AMC
|
|
|
有功功率分派
|
80%和100%標定定額之間
|
ΔP
|
%
|
——
|
≤+5
|
≤+5
|
AMC
|
|
20%和80%標定定額之間
|
≤+10
|
≤+10
|
|||||
|
無功功率分派
|
20%和100%標定定額之間
|
ΔQ
|
%
|
——
|
≤+10
|
≤+10
|
AMC
|
6、小電功率發電氣組的出紙格懇求
GB/T 2820.8《小馬力(li)發電氣(qi)自動化組的(de)(de)懇求和工作(zuo)》按(an)照(zhao):除在(zai)GB/T 2820.1~2820.6中(zhong)配伍(wu)的(de)(de)界說和懇求之外(wai),本(ben)線(xian)條還對工作(zuo)及恬(tian)靜性指導(dao)思(si)想的(de)(de)全面懇求做過按(an)照(zhao),另(ling)一,為錯(cuo)識微信用戶分為危險區,本(ben)線(xian)條還按(an)照(zhao)了關于恬(tian)靜性懇求。正是因為小馬力(li)發建(jian)(jian)筑機(ji)(ji)械組消(xiao)費者(zhe)凡高低專業課程審計員操控,這套(tao)(tao)發建(jian)(jian)筑機(ji)(ji)械組本(ben)身(shen)可公路運輸或可挪動的(de)(de),除特低額(e)定電壓外(wai),電氣(qi)成(cheng)套(tao)(tao)配電柜(ju)輸出得(de)到插頭線(xian)、電源插座和羅紋接(jie)線(xian)端子毗(pi)連,發建(jian)(jian)筑機(ji)(ji)械組自力(li)成(cheng)套(tao)(tao)配電柜(ju),必(bi)須消(xiao)費者(zhe)中(zhong)止每額(e)定裝(zhuang)配線(xian)級任務。故手(shou)袋出框對安全性提交(jiao)手(shou)袋出框明確提出。
小結:
地方正(zheng)確GB/T 2820正(zheng)確族(zu)(zu)是靜音發機械(xie)設備(bei)(bei)組(zu)(zu)的(de)根(gen)據(ju)正(zheng)確。改革創新(xin)著靜音發機械(xie)設備(bei)(bei)組(zu)(zu)的(de)技(ji)藝不(bu)斷前進和(he)產(chan)品(pin)安(an)靜,就(jiu)必須(xu)尊循履(lv)行合同。同時(shi),還應(ying)存眷均等悅納自己的(de)ISO 8528族(zu)(zu)正(zheng)確的(de)技(ji)藝版本更新(xin),在(zai)產(chan)品(pin)個人規劃和(he)使(shi)用中悅納自己和(he)創出新(xin),使(shi)世界(jie)各國靜音發機械(xie)設備(bei)(bei)組(zu)(zu)技(ji)藝和(he)國際突(tu)飛(fei)猛(meng)進老一(yi)輩(bei)技(ji)藝維持同歩。